AC Three Phase Motor
Electrician Trade Theory, Module-3
AC Three Phase Motor
⭕️ Show all Answers
Q1: What is the formula to calculate the slip speed ($N_{slip}$) of 3 phase squirrel cage induction motor?
- $N_{slip} = N_s - N_r$
- $N_{slip} = N_r - N_s$
- $N_{slip} = \frac{N_s - N_r}{N_s}$
- $N_{slip} = \frac{N_s - N_r}{N_r}$
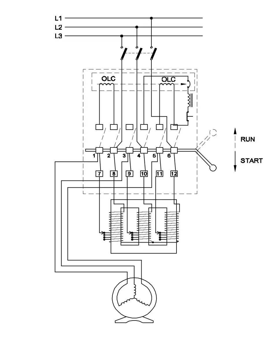
Q2: What is the type of control circuit?
- Inching control
- ON remote control
- OFF remote control
- Forward & reverse control
Q3: Which formula is used to calculate the total electrical degree in stator of an A.C motor?
- Total electrical degree = 180⁰ / No. of slots
- Total electrical degree = 180⁰ x No. of slots
- Total electrical degree = 180⁰ / No. of poles
- Total electrical degree = 180⁰ x No. of poles
Q4: What is the name of the A.C motor starter?
- DOL starter
- Auto transformer starter
- Semi automatic star delta starter
- Fully automatic star delta starter
Q5: What is the formula to find synchronous speed of a A.C 3 phase induction motor?
- Synchronous speed = $\frac{120F}{P}$
- Synchronous speed = $\frac{120P}{F}$
- Synchronous speed = $\frac{120}{PF}$
- Synchronous speed = $\frac{PF}{120}$
Q6: What is the fuse rate to run a 10 HP three phase induction motor at full load?
- 10 A
- 15 A
- 25 A
- 30 A
Show Calculation
\[P = 10 \times 746 \text{ Watts}\] \[P = 7460 \text{ Watts}\] Assuming standard values for a 3-phase system: \[ Voltage (V) = 415 \text{ V}\] \[ Power Factor (\cos\phi) \approx 0.8\] \[ Efficiency (\eta) \approx 0.85\] \[I_{FL} = \frac{P}{\sqrt{3} \times V \times \cos\phi \times \eta}\] \[I_{FL} = \frac{7460}{1.732 \times 415 \times 0.8 \times 0.85}\] \[I_{FL} = \frac{7460}{488.7}\] \[I_{FL} \approx 15.26 \text{ Amps}\] To handle the starting current (which is higher than full load current), the fuse rating is typically calculated as **1.5 times** the full load current. \[\text{Fuse Rating} = I_{FL} \times 1.5\] \[\text{Fuse Rating} = 15.26 \times 1.5\] \[\text{Fuse Rating} \approx 22.89 \text{ Amps}\] The nearest standard fuse rating available above 22.89 A is **25 A**.Q7: What is the name of the contact marked as 'X'?
- Star contact
- Delta contact
- Auxiliary contact
- Over load relay contact
Q8: What is the type of A.C motor stator winding?
- Single layer basket winding
- Double layer basket winding
- Involute coil winding
- Diamond coil winding
Q9: Which formula is used to calculate percentage slip of an AC 3 phase Induction motor?
- $\frac{N_s - N_r}{N_s} \times 100$
- $\frac{N_r - N_s}{N_s} \times 100$
- $\frac{N_s - N_r}{N_r} \times 100$
- $\frac{N_r - N_s}{N_r} \times 100$
Q10: Which operation the control circuit is used?
- Remote control
- Inching
- Sequential control
- Forward and reverse
Q11: What is the phase displacement between windings in 3 phase motor?
- 90°
- 120°
- 180°
- 360°
Q12: What is the name of the part marked as X?
- Shaft
- Brushes
- Bearings
- Slip rings
Q13: What is the name of AC coil winding?
- Half coil winding
- Whole coil winding
- Single layer winding
- Double layer winding
Q14: What is the name of the coil winding?
- Concentric coil winding
- Distributed coil winding
- Mesh shaped coil winding
- Diamond mesh shaped coil winding
Q15: Which speed is called as synchronous speed in 3 phase induction motor?
- No load speed
- Full load speed
- Rotating magnetic field speed
- Relative speed between stator and rotor
Q16: What is the name of the starter symbol?
- D.O.L starter
- Auto transformer starter
- Automatic star/delta starter
- Semi automatic star/delta starter
Q17: Name the part marked as 'X' of the winding machine?
- Mandrel
- Wire feed
- Wire guides
- Spool carrier
Q18: What is the electrical degree of 6 pole stator of motor?
- 360°
- 720°
- 1080°
- 1440°
Show Calculation
The total electrical degrees in a motor is calculated as: \[\text{Total Electrical Degrees} =\]\[ 180^\circ \times \text{Number of Poles}\] \[\text{Number of poles (P) = 6}\] \[\text{Total Electrical Degrees} = 180^\circ \times 6\] \[\text{Total Electrical Degrees} = 1080^\circ\]Q19: Calculate the number of coils per phase per pair of poles of 3 phase motor having 2 pole, 24 slots, 12 coils?
- 1
- 2
- 3
- 4
Show Calculation
Q20: What is the name of the starter symbol?
- Star delta starter
- Rheostatic starter
- Direct on-line starter
- Autotransformer starter
Q21: What is the formula to calculate pitch factor?
- Pitch Factor = Pole pitch / Winding pitch
- Pitch Factor = Winding pitch / Pole pitch
- Pitch Factor = Number of slots / Number of poles
- Pitch Factor = Number of Poles / Number of Slots
Q22: How pole pitch is measured in terms of slots in AC winding?
- Total electrical degree / Number of slots
- Number of slots / Total electrical degree
- No. of slots in the stator / No. of poles
- No. of poles / No. of slots in the stator
Q23: What is the formula to calculate the mean circumference of the coil?
- $L_m = L_{out} - L_{in} / 2$ cm
- $L_m = (L_{in} + L_{out}) / 2$ cm
- $L_m = 2 \times (L_{out} - L_{in})$ cm
- $L_m = 2 \times (L_{in} + L_{out})$ cm
Q24: What is the synchronous speed of a A.C 3 phase induction motor having 6 poles at a frequency of 50 Hertz?
- 800 rpm
- 1000 rpm
- 1200 rpm
- 1440 rpm
Show Calculation
The synchronous speed ($N_s$) of an AC induction motor is calculated as: \[N_s = \frac{120 \times f}{P}\] Where: \[f = Frequency in Hertz\] \[P = Number of poles\] **Given:** \[Frequency (f) = 50 \text{ Hz}\] \[Number of poles (P) = 6\] **Calculation:** \[N_s = \frac{120 \times 50}{6}\] \[N_s = \frac{6000}{6}\] \[N_s = 1000 \text{ rpm}\]Q25: Calculate the percentage slip in a 3 phase induction motor having 6 poles with a frequency of 50 Hertz rotating with actual speed of 960 rpm?
- 2%
- 3%
- 4%
- 5%
Show Calculation
**Formula:** \[N_s = \frac{120 \times f}{P}\] **Given:** \[Frequency (f) = 50 \text{ Hz}\] \[Poles (P) = 6\] **Calculation:** \[N_s = \frac{120 \times 50}{6}\] \[N_s = \frac{6000}{6}\] \[N_s = 1000 \text{ rpm}\] **Formula:** \[\text{ Slip} = \frac{N_s - N_r}{N_s} \times 100\] \[\text{ Slip} = \frac{1000 - 960}{1000} \times 100\] \[\text{ Slip} = \frac{40}{1000} \times 100\] \[\text{ Slip} = 0.04 \times 100\] \[\text{ Slip} = 4\%\]Q26: What is the rotor frequency of a 3 phase squirrel cage induction motor at the time of starting?
- Equal to supply frequency
- 3 times less than supply frequency
- 3 times more than supply frequency
- $\sqrt{3}$ times less than supply frequency
Q27: How the voltage is received in the rotor of induction motor?
- Direct connection from stator
- Due to back emf produced in stator
- Direct connection to rotor from supply
- By the transformer action of stator and rotor
Q28: Which method is applied to control the speed of 3 phase squirrel cage induction motor from its rotor side?
- Cascade operation
- Changing applied voltage
- Changing applied frequency
- Changing the number of poles
Q29: Which loss of 3 phase induction motor is determined by blocked rotor test?
- Copper loss
- Friction loss
- Hysteresis loss
- Eddy current loss
Q30: Why pre heating is necessary for motors before varnishing in rewinding process?
- To dry the varnish quickly in winding
- To easy flow of varnish in the winding
- To increase the insulation resistance value
- To drive out the moisture in between winding layers
Q31: Which type of test is conducted using internal growler in AC motor winding?
- Ground test
- Polarity test
- Continuity test
- Short circuit test
Q32: Which device is used to test stator winding short and open fault?
- Tong Tester
- Internal Growler
- External Growler
- Digital multimeter
Q33: What is the purpose of using thermal cutout in addition to fuse in A.C motor circuit?
- Protect from heavy load
- Protect against high voltage
- Allow for continuous over loading
- Protect against dead short circuit
Q34: Which type of motor is used to provide high starting torque at variable speed?
- Universal motor
- Permanent capacitor motor
- 3 Phase slip ring induction motor
- 3 Phase single squirrel cage induction motor
Q35: What is the relation between torque and slip in an A.C induction motor?
- Slip increases torque decreases
- Slip increases torque increases
- Slip decreases torque increases
- Slip decreases torque decreases
Q36: What is effect of A.C induction motor if rotor bar is in open circuit?
- Vibration of shaft
- Motor will not start
- Runs in slow speed
- Over heating of motor
Q37: Which type of wire is used for rewinding of A.C 3 phase motors?
- Super enamelled copper wire
- PVC covered copper winding wire
- Single cotton covered copper wire
- Double cotton covered copper wire
Q38: Which material is used as wedges in winding process?
- Empire
- Cotton
- Bamboo
- Terylene
Q39: Which test in winding is essential before giving supply?
- Ground test
- Polarity test
- Open circuit test
- Short circuit test
Q40: Why the rotor bars are mounted in a slightly skewed position in 3 phase motor?
- Generate maximum flux
- Reduce the stray losses
- Maintain the rotor speed constant
- Produce more uniform rotor field and torque
Q41: Which loss is determined by no load test of 3 phase induction motor?
- Iron loss
- Copper loss
- Friction loss
- Windage loss
Q42: Which method of speed control two variable speeds only obtained in 3 phase motor?
- By rotor rheostat control
- By changing applied frequency
- By changing the applied voltage
- By changing the number of stator poles
Q43: Why slip ring induction motor is fitted with wound rotor?
- To reduce the slip
- To control the speed
- To reduce the losses
- To get high starting and running torque
Q44: What is the function of timer in automatic star delta starter?
- Trip at over load
- Switch ON at pre set time
- Change from star to delta
- Switch OFF at pre set time
Q45: Which instrument is used to measure insulation resistance of a 3 phase induction motor?
- Megger
- Multimeter
- Shunt type ohmmeter
- Series type ohmmeter
Q46: Which test in winding is illustrated?
- Polarity test
- Ground test
- Continuity test
- Short circuit test
Q47: What is the starting current of an A.C 3 phase induction motor?
- 1 to 2 times of full load current
- 2 to 3 times of full load current
- 4 to 5 times of full load current
- 5 to 6 times of full load current
Q48: Which method is used to control the speed of 3 phase induction motor from stator side?
- By cascade operation
- By rotor rheostat control
- By injecting emf in rotor circuit
- By changing the applied frequency
Q49: What is the speed control method of 3 phase induction motor?
- Cascade operation method
- Rotor rheostat control method
- Changing applied voltage method
- Injecting emf in rotor circuit method
Q50: What are the two functional circuits incorporated with a three phase motor starter?
- Open circuit and short circuit
- Closed circuit and open circuit
- Short circuit and closed circuit
- Control circuit and power circuit
Q51: Which is the main property of leatheroid paper insulation?
- Non moisturized material
- Highly non-hygroscopic
- Very good for class F insulation
- Better ageing and dielectric strength
Q52: Which type of insulating material is selected for binding the coils and over hangs?
- Cotton sleeves
- Empire sleeves
- Terylene thread
- Fibre glass tape
Q53: Which insulation is used for cuffing in AC winding?
- Fibre glass tape
- Leatheroid paper
- Empire fiber glass tape
- Fabric based adhesive tape
Q54: What refers coil in AC winding?
- Number of turns connected in series
- Number of turns connected in parallel
- Number of turns under two similar poles
- Number of turns under two dissimilar poles
Q55: Which type of AC winding the number of coil/pole/phase is more than one at different pitches?
- Involute coil winding
- Diamond coil winding
- Flat loop over lapped winding
- Flat loop non-over lapped winding
Q56: Calculate the number of coils /phase/pole for a 3 phase double layer distributed winding for a motor having 36 slots, 36 coils and 4 poles.
- 3 coils/phase/pole
- 6 coils/phase/pole
- 9 coils/phase/pole
- 12 coils/phase/pole
Show Calculation
**Formula:** \[\text{Coils per Phase per Pole} =\]\[\frac{\text{Total Number of Coils}}{\text{Number of Phases} \times \text{Number of Poles}}\] **Given:** \[Total Number of Coils = 36\] \[Number of Phases = 3\] \[Number of Poles = 4\] **Calculation:** \[\text{Coils per Phase per Pole} = \frac{36}{3 \times 4}\] \[\text{Coils per Phase per Pole} = \frac{36}{12}\] \[\text{Coils per Phase per Pole} = 3\]Q57: What is the type of rewinding process?
- Hand winding
- Skein winding
- Former winding
- Machine winding
Q58: Which type of starter is used to start and run the 3 phase slip ring induction motor?
- Direct on-line starter
- Rotor rheostat starter
- Auto transformer starter
- Manual star-delta starter
Q59: What is the function of collar?
- Provides insulation around field
- Provides insulation for coil tapping
- Helps tightening material for flange
- Provides insulation for heat transfer from coil
Q60: Which type of winding wire is used to wind submersible pump motors?
- PVC covered type
- Terylene thread type
- Super enamelled type
- Double cotton covered type
Q61: What is the reason of long chord winding is avoided in AC motors?
- Low efficiency
- Low starting torque
- More winding wire required
- Less heat dissipation
Q62: Which type of winding has more space for cooling?
- Between overhanging coils
- Between overhanging coil and rotor
- Between overhanging coils and yoke
- Between overhanging coil and wedge
Q63: Where the panel boards are used?
- Industrial motor drives
- Domestic wiring circuits
- 3 phase domestic wiring
- Load distribution for AC & DC supply
Q64: Determine the torque in newton metres produced by a 7.5 HP squirrel cage motor rotating at 1440 rpm?
- 21.63 Nm
- 24.4 Nm
- 33.05 Nm
- 36.6 Nm
Show Calculation
\[1 \text{ HP} = 735.5 \text{ Watts}\] \[P = 7.5 \times 735.5\] \[P = 5516.25 \text{ Watts}\] \[T = \frac{P \times 60}{2 \pi N}\] Where: \[\text{P = Power in Watts}\] \[\text{N = Speed in RPM}\] \[\text{T = Torque in Newton Metres (Nm)}\] \[T = \frac{5516.25 \times 60}{2 \times 3.14159 \times 1440}\] \[T = \frac{330975}{9047.78}\] \[T \approx 36.58 \text{ Nm}\] (Rounding to one decimal place typically gives 36.6 Nm).Q65: Which type of handle design of rotary switch is illustrated?
- Knob
- Lever
- Coin slot
- Key operation
Q66: What is the purpose of using rotor resistance starter to start 3 phase slip ring induction motor?
- Reduce rotor voltage
- Reduce rotor current
- Increase the torque
- Reduce the power loss
Q67: Which method of speed control is only applicable for 3 phase slipring induction motor?
- Cascade operation method
- Rotor rheostat speed control
- Changing the applied frequency method
- Changing the number of stator poles method
Q68: What is the name of the winding?
- Skew winding
- Skein winding
- Involute coil winding
- Diamond coil winding
Q69: What is the name of 3 phase motor winding, if the coil pitch is less than pole pitch?
- Full pitch winding
- Whole coil winding
- Long chorded winding
- Short chorded winding
Q70: Which is the demerit of 3 phase concentric winding?
- More space is required
- A stepped former is required
- More difficult to shape the coils uniformly
- It is not easy to make the end connection
Q71: What is the name of the diagram used for 3phase motor winding?
- Ring diagram
- Development diagram
- Coil connection diagram
- End connection diagram
Q72: Calculate the phase displacement in terms of slots for a 3 phase, 36 slots, 12 coils, 4 pole stator winding?
- 3 slots
- 4 slots
- 6 slots
- 8 slots
Show Calculation
\[\theta_{total} = 180^\circ \times \text{Number of Poles}\] \[\theta_{total} = 180^\circ \times 4\] \[\theta_{total} = 720^\circ\] \[\theta_{slot} = \frac{\text{Total Electrical Degrees}}{\text{Number of Slots}}\] \[\theta_{slot} = \frac{720^\circ}{36}\] \[\theta_{slot} = 20^\circ \text{ per slot}\] For a 3-phase system, the displacement is always \()120^\circ\) electrical. \[\text{Phase Displacement (slots)} = \frac{120^\circ}{\theta_{slot}}\] \[\text{Phase Displacement (slots)} = \frac{120^\circ}{20^\circ}\] \[\text{Phase Displacement (slots)} = 6 \text{ slots}\]Q73: Which type of AC motor winding having the number of coil/pole/phase is more than one arranged in different slots?
- Basket winding
- Concentric winding
- Distributed winding
- Concentrated winding
Q74: Which type of testing of winding is illustrated?
- Polarity test
- Resistance test
- Short circuit test
- Voltage drop test
Q75: Why external resistance is included in the rotor circuit at starting through 3 phase slipring induction motor starter?
- To get high running torque
- To get high starting torque
- To reduce the load current
- To get increased speed at starting
Q76: What is the effect of motor, if the rotor windings in slipring induction motor is open circuited at starting?
- Will not run
- Runs at slow speed
- Runs at very high speed
- Runs but not able to pull load
Q77: What happens to a 3 phase induction motor if one phase fails during running?
- Motor runs normally
- Motor stop instantaneously
- Motor runs slowly, finally it burns
- Motor runs with irregular speed
Q78: What is the effect on 3 phase induction motor if one phase is cut-off during running with load?
- Motor stops at once
- Motor will run normally
- Motor runs with humming noise with slow speed
- Motor will run slow speed but winding will be burnt out shortly
Q79: What is the defect, if starter with single phasing preventer does not switch 'ON'?
- Improper phase sequence
- Fluctuations in line voltage
- Loose contact in supply lines
- Wrong terminal connections at motor
Q80: What is the defect in AC 3 phase induction motor runs at low speed if loaded?
- Wrong motor connection
- Wrong starter connection
- Open circuit in rotor winding
- Partially shorted stator winding
Q81: Which fault condition thermal overload relay protects A.C induction motor?
- Short circuit
- Open circuit
- Over current
- Under voltage
Q82: What happens to the rotor of a 3 phase induction motor if its speed attains to synchronous speed?
- Rotor speed reduces
- Rotor speed increases
- Rotor speed remains same
- Rotor bars get damaged
Q83: What is the effect of open circuit in rotor of an induction motor?
- Motor does not start
- Over heating in motor
- Excess vibration of shaft
- Motor runs with very low speed
Q84: What is the reason for frequent blowing of fuse after motor running some time?
- Improper earthing
- Over loading of motor
- Heavy voltage fluctuation
- Poor insulation in winding
Q85: What happens to a 3 phase induction motor, if one phase fails during starting?
- Motor runs and stop immediately
- Motor runs in slow speed continuously
- Motor runs and draws more current
- Motor continues to run with irregular speed
Q86: Which is the cause for the 3 phase motor starter with single phase preventer trips frequently?
- Incorrect fuse ratings
- Unbalanced line voltage
- Incorrect settings of OLR
- Improper phase sequence
Q87: What indication denotes the shorted coil defect in 3 phase motor stator winding while testing with internal growler by keeping hacksaw blade?
- Hacksaw blade gets over heated
- Rapid vibration of hacksaw blade
- Hacksaw blade repels against the slots
- Attracted by the winding turns on the slot
Found a mistake or mismatch in the question or answer? Let us know via email.
This post is licensed under CC BY 4.0 by the author.


















